Illuminazione Urbana

CONO Catenaria

Effetto della luce

L'illuminazione urbana fra classico e moderno
L'apparecchio LED per illuminazione urbana dal design iconico: in versione a catenaria ha una particolare vocazione per l'illuminazione di centri storici e isole pedonali dal gusto classico. Le diverse ottiche radiali o stradali disponibili consentono di illuminare adeguatamente varie tipologie di aree urbane, senza produrre inquinamento luminoso.

  • Design dalla forma conica,  elegante e versatile
  • Applicazioni: illuminazione pubblica di aree urbane dallo stile classico
  • Versioni: nell'installazione a braccio a parete o braccio su palo è ideale per illuminare di piazze, parchi, aree pedonali e piste ciclabili; in versione a catenaria è la soluzione illuminotecnica perfetta per vie strette e vicoli e per valorizzare piazze.
  • Sistema bipotenza per programmare o ottimizzare potenza e consumi.
Apparecchio per illuminazione urbana a catenaria dal classico design di forma conica
comfort

Versioni


CCT


Colore


Controllo


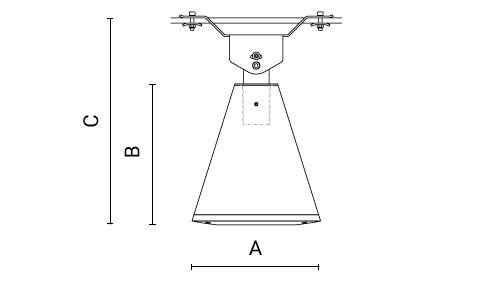
Codice Ottica Watt Lumen CCT CRI Controllo A B C
0883014A-840-21 tipo I 35W 3250lm 4000K 80 ON/OFF 300mm 330mm 470mm
0883015A-840-21 tipo III 35W 3500lm 4000K 80 ON/OFF 300mm 330mm 470mm
0883012A-840-21 tipo VS-M 35W 3900lm 4000K 80 ON/OFF 300mm 330mm 470mm
0883013A-840-21 tipo VS-W 35W 2900lm 4000K 80 ON/OFF 300mm 330mm 470mm

Altre versioni